Figure 3 shows a block diagram of the Doppler D/F, which consists of two assemblies : the display unit houses most of the electronics, and resides in the vehicle passenger compartment, where it can be observed by the T - hunters. The antenna unit contains a few chips and the switching diodes for the antennas. It is mounted beneath the antenna ground plane.

Figures 4 and 5 show the schematic diagram of the D/F. The "vertical" schematic is provided to simplify hardcopy printout from a web browser. A "horizontal" version of the main board schematic is available [ HERE ]. Most of the components are common enough to be obtained from a local Radio Shack, but a few will require a better source. The parts list provides part numbers from various "catalogue" parts suppliers. None of the parts are very unique or specialised, so they should be fairly easy to find.
Antenna performance can be improved by substituting better parts, but the "better" parts are not as common as the ones listed on the schematic... see the section titled "ANTENNA" for more information.

The enclosure used by the author is manufactured by SerPac ( available from Digi-Key and Allied ) but any enclosure will do. The mounting holes on the PC board artwork will mate perfectly with SerPac enclosure p/n S-132, ( for the display ) and SerPac p/n S-131, for the antenna unit. The SerPac enclosures were chosen mostly because they were available, stylish, and made of plastic... holes for the indicator LED’s and various cables can be easily "drilled"... with a soldering iron.

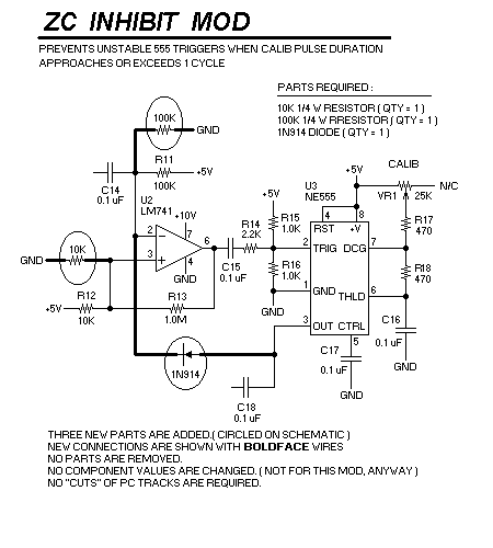
The following "MOD" was added in June of 2000, but the PC artwork was not changed to accomodate it, and it must be installed "by hand". This mod improves the behavior of the ( NE555 ) CALIBRATION 1-shot, by disabling it's trigger source while it is producing an output pulse. The 555 does some "strange things" if it is triggered more than once during an output pulse, which causes multiple ( different ) LED displays.
This mod prevents that, and allows the full range of the CALIB trimpot to be used. ( = 150 % of display scale )
